| Pages from NAVSHIPS 95718 - pdf version | |||
SB-1203A interconnection |
SB-1210A interconnection |
terminal board connections |
|
operation - page 1 |
operation - page 2 |
circuit description - page 1 |
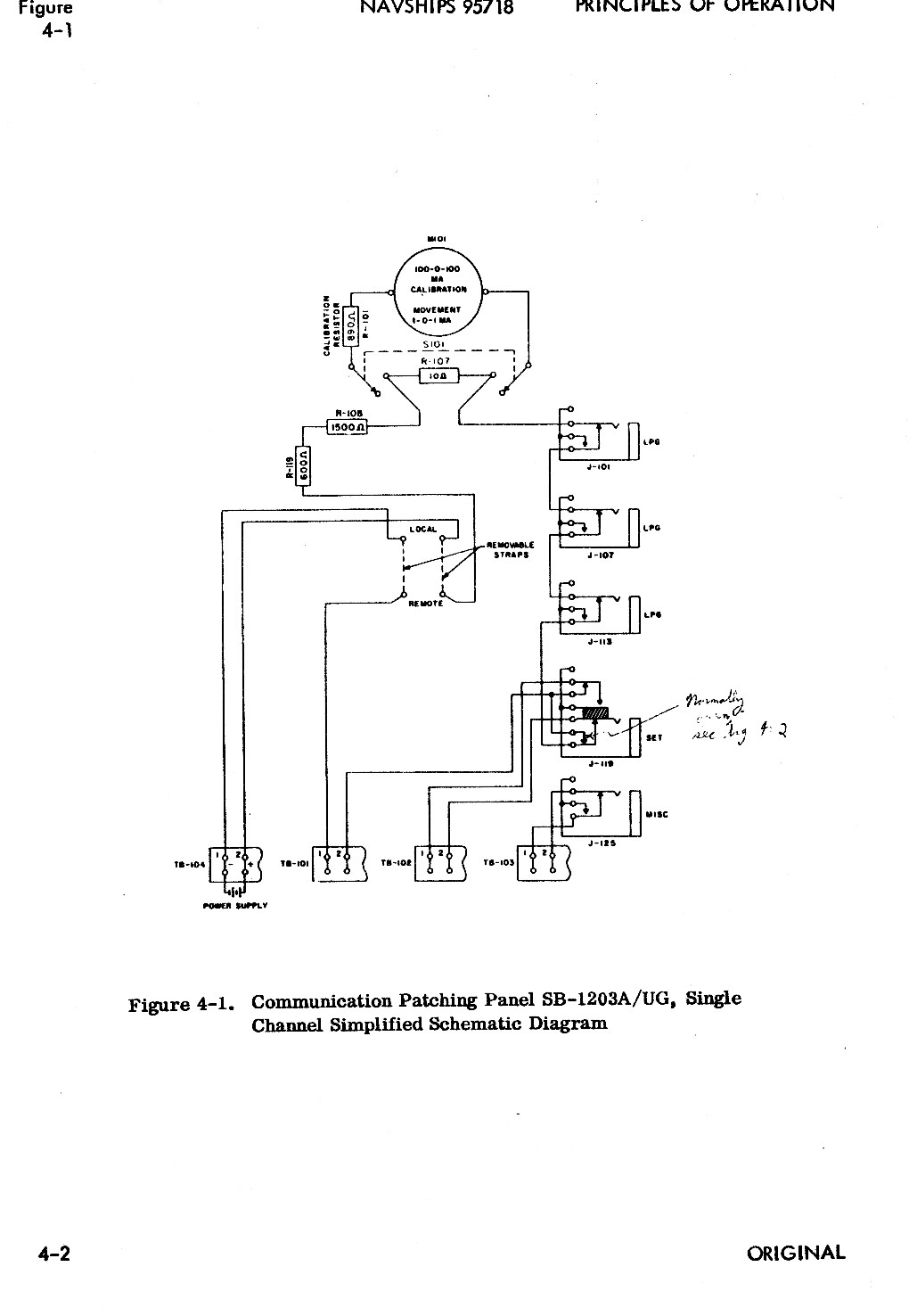
single channel diagram |
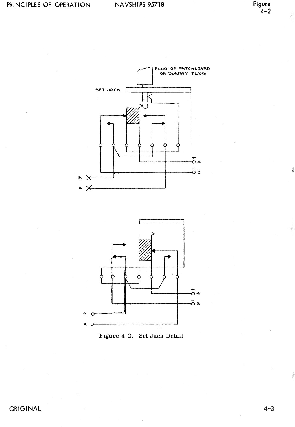
SET jack detail |
SB-1203A schematic |
SB-1210A schematic |
|